propeler Posted December 18, 2021 Posted December 18, 2021 Motivation(WHY?) For a period of time my "base to go" is VKB Gunfighter base. It is awesome base but I have a consern about it. Even with shortest extender and TWO 50 grare springs there is a lack of force near the center. As the result a lot of airplanes are too sensitive near the center. Expecially when you play VR and need to move a lot when looking around, smallest touch to stick causes airplane oscilation. So. I decided to try force sense joystick. Price of realsimulator base i consider way too expencive and no alternatives around. And I've build my own Construction(HOW?) I choosed cross scheme based on widely available load cells. In my case it is cheep 20kg load cells from China. As the amplifier I choosed ina122P. Arduino leonardo as main controller. Load cells were cut to shorter length for smaller size of base. All other components are standard V-SLOT ALU components. So all of components are widely available and anybody can repeat it. Impression It is AWESOME!!! I like it very much. It is possible to setup it in a vay that you need to apply really good force to get deflection of joystick, as the result it is so informative even with smallest deflections. I'm almost happy The only point that I would like to add - is possibility to have some range of movement of stick, with such extender I'd prefere something near 2-3 cm at max deflection. So if someone have ideas how to achieve it - you are welcome! :) 4
edmuss Posted December 18, 2021 Posted December 18, 2021 (edited) To achieve movement of the stick you could build stacks of bellville washers above and below the strain guage so it's floating on a very stiff spring. You may need to add a guide to the base plate either side of the strain guage to stop sideways movement on the bolt holes. You could adjust the height of the stacks and the preload to change the stick stiffness. It might make the calibration a little screwy though, but if you can get the preloads all the same I don't see why it shouldn't work Edited December 18, 2021 by edmuss 1 Ryzen7 7800X3D / RTX3080ti / 64GB DDR5 4800 / Varjo Aero / Leap Motion / Kinect Headtracking TM 28" Warthog Deltasim Hotas / DIY Pendular Rudders / DIY Cyclic Maglock Trimmer / DIY Abris / TM TX 599 evo wheel / TM T3PA pro / DIY 7+1+Sequential Shifter / DIY Handbrake / Cobra Clubman Seat Shoehorned into a 43" x 43" cupboard.
Its_Mercury_NOR Posted December 20, 2021 Posted December 20, 2021 Would you mind giving link on parts used? I wanna give this a go myself 1
propeler Posted December 21, 2021 Author Posted December 21, 2021 Full BOM V-Slot profile | 1 | 2$ | 2$ | V-Slot connector | 4 | 1$ | 4$ | INA122P | 2 | 10$ | 20$ | A-Star 32U4 Micro | 1 | 18$ | 18$ | Load cell | 4 | 8$ | 32$ | Total 76$
dnick Posted December 26, 2021 Posted December 26, 2021 Hello, I think it is a pretty good idea, I have a few questions and a suggestion: What load cells you have used? 1, 5 or 10Kg? Can you please share the wiring schema to the INA122P? How do you connect the buttons of the joystick to the 32u4 micro? is there any documentation on an easy way to do it? How good is the feeling doing small movements like inflight refueling? The suggestion for the movement is to print a TPU intermediate adapter between the joystick and the load cell if you make it 100% infill and over 5-6mm of thickness it will be slightly flexible but strong enough. Best regards 1
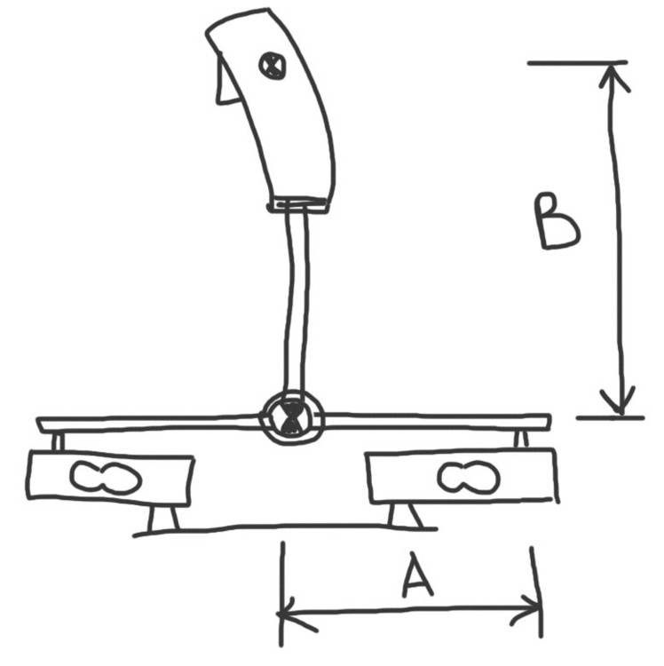
propeler Posted December 27, 2021 Author Posted December 27, 2021 17 hours ago, dnick said: What load cells you have used? 1, 5 or 10Kg? It depends on what maximum force you plan for your stick. Let's consider this picture Needed load cell can be calculated as (B*MaximumExpectedForce/2A). For example in my case B is near 25cm, A is 3cm, with maximum force of 5kg you will need (25*5)/(2*3 ) roughly 20kg rated load cell. 17 hours ago, dnick said: Can you please share the wiring schema to the INA122P? I connected everything like this 17 hours ago, dnick said: How do you connect the buttons of the joystick to the 32u4 micro? is there any documentation on an easy way to do it? I did not. I use original blackbox controller and connected stick to it. So handle is simply VKB device in the system 17 hours ago, dnick said: How good is the feeling doing small movements like inflight refueling? On par with vkb gunfighter base 17 hours ago, dnick said: The suggestion for the movement is to print a TPU intermediate adapter between the joystick and the load cell if you make it 100% infill and over 5-6mm of thickness it will be slightly flexible but strong enough. I already simulated several options and found solution for my next variant of the base. Experimenting with thickness and with of the top plate "arms" I will be chnging total stick deflection. 1
Thadiun Okona Posted December 27, 2021 Posted December 27, 2021 For some quality deflection you can use skateboard bushings like how they're used in loadcell pedals for simracing. You can use them as simple bumper stops between the stick and the loadcells or run rods through them you can pretension with thin nuts etc. They're widely available in different durometers and long lasting 1
dnick Posted December 28, 2021 Posted December 28, 2021 En 27/12/2021 a las 17:20, propeler dijo: It depends on what maximum force you plan for your stick. Let's consider this picture Needed load cell can be calculated as (B*MaximumExpectedForce/2A). For example in my case B is near 25cm, A is 3cm, with maximum force of 5kg you will need (25*5)/(2*3 ) roughly 20kg rated load cell. I connected everything like this I did not. I use original blackbox controller and connected stick to it. So handle is simply VKB device in the system On par with vkb gunfighter base I already simulated several options and found solution for my next variant of the base. Experimenting with thickness and with of the top plate "arms" I will be chnging total stick deflection. Thank you very much for the info. Excellent work. 1
propeler Posted December 29, 2021 Author Posted December 29, 2021 (edited) On 12/26/2021 at 11:58 PM, dnick said: How good is the feeling doing small movements like inflight refueling? I was wrong. Difference was not so prominent at begining. But now I feel it so clearly! I played two weeks exlusively with load cell joystick and today switched back to Gunfighter and difference is HUGE!!! Control with small deflection is way better: On load cell joystick there is imideat fill of a smallest deflections, because you need to apply noticable force for it, on spring joystick there is no fill of small deflections near the center, it is "empty" in the center, so you try to compensate them with small movements, and it causes oscilations. There is a good feel when plane is not in balance. On spring joystick you can automatically compensate it simply with stick deflection because of weak force needed, but on load cell variant you constantly need apply force, so you fell it, and use trim more to compensate it. Overal resistance of load cell joystick is much higher, so there is posibility to control more with more precision by feel of linear force increas with deflection. It is something similar to feel of load cell brakes for sim racing, comparing to normal pedals. Just for clarification. I use Gunfighter with 100m extender. So comparison is for this case. Edited December 29, 2021 by propeler 1
propeler Posted December 30, 2021 Author Posted December 30, 2021 (edited) For all who would like to build their own. CAD project of the base is in attachment. It is variant for "under-the-chair" or "floor" mount, because it has bigger dimensions. Changing width of arms of flex plate(cross-like element) and changing thickness of it it is possible to change overal travel of the stick. Fill free to add case for it and possibli travel restrictors. Chears! LoadCellBase.STEP Prototype of full length stick is already ther Range of motion with forca around 6kg applied to stick Edited December 31, 2021 by propeler 4
dnick Posted January 5, 2022 Posted January 5, 2022 En 30/12/2021 a las 12:23, propeler dijo: For all who would like to build their own. CAD project of the base is in attachment. It is variant for "under-the-chair" or "floor" mount, because it has bigger dimensions. Changing width of arms of flex plate(cross-like element) and changing thickness of it it is possible to change overal travel of the stick. Fill free to add case for it and possibli travel restrictors. Chears! LoadCellBase.STEP 824 kB · 6 descargas Prototype of full length stick is already ther Range of motion with forca around 6kg applied to stick Hello, happy new year. Any progress with teh final versión? 1
crash test pilot Posted September 25, 2022 Posted September 25, 2022 On 12/27/2021 at 5:20 PM, propeler said: Hi! I maybe late to the party, but i am very interested. The blue parts in your drawing are puzzling me. Are they variable resistors? If yes, what value? In your first picture I see "M 501" printed on them. Google says either 500 ohm or 50k ohm... Can you tell me which? Thanks a lot!
propeler Posted September 25, 2022 Author Posted September 25, 2022 YEs, variable resistors. I use whatever found and then tune them.Them are usually multiturn and can be tuned pretty precise. I did not checked exact value but I think something between 2k and 20k will be ok.
Goblin Posted January 3, 2023 Posted January 3, 2023 @propeler This looks like a cool project! I will try to copy your efforts, but I have some trouble understanding your wiring? I took the liberty of making a few notes on your diagram. Should green go to green, and grey to grey, like in your drawing? If so, how do you know which load cell that see the load? Or should the wires go crossed, like I have drawn? I mean, the loadcells should be able to differentiate between which one is being pressed? Note that you may very well be correct here, but I just can’t get it to work in my head Also, what’s the deal with the 5V and GND? The magenta wires shouldn’t connect, am I right? I am most grateful for any help you can provide!
crash test pilot Posted January 4, 2023 Posted January 4, 2023 Hi Goblin, not my design but I build one according to this thread and it works like a charm. The diagram is correct as is, green wires connected to green and grey to grey. Cant explain but it works. The magenta wires are connected, its a voltage divider. Two resitors between +5v and ground, and between the resistors you can grab 2.5v. 1
Goblin Posted January 4, 2023 Posted January 4, 2023 7 hours ago, crash test pilot said: Hi Goblin, not my design but I build one according to this thread and it works like a charm. The diagram is correct as is, green wires connected to green and grey to grey. Cant explain but it works. The magenta wires are connected, its a voltage divider. Two resitors between +5v and ground, and between the resistors you can grab 2.5v. Ok! Thanks for the input. What size adjustable resistors did you use?
crash test pilot Posted January 4, 2023 Posted January 4, 2023 I used 500 ohms variable resistors, and they are way too big. If you have a look into the datasheet for the ina122p chip you find a table for desired gain. As it just happened today that i ripped a cable from a load cell i have to rebuild - i will test some non-variable resistors between 20 and 200 ohm and report back for my findings. 1
Pumba298 Posted June 29, 2023 Posted June 29, 2023 (edited) This is a great and very smart idea, well done! I was wondering what code should I upload to the Arduino? Thank you for your great design! Edited June 29, 2023 by Pumba298
crash test pilot Posted February 21, 2024 Posted February 21, 2024 On 1/4/2023 at 10:13 PM, crash test pilot said: I used 500 ohms variable resistors, and they are way too big. If you have a look into the datasheet for the ina122p chip you find a table for desired gain. As it just happened today that i ripped a cable from a load cell i have to rebuild - i will test some non-variable resistors between 20 and 200 ohm and report back for my findings. In the end i used 180 ohm resistors - just what i dialed in my variable resistors.
JMW Posted May 12 Posted May 12 Inspired by this thread and others on the internet I’ve built my own force sensing stick. I’m not much of an electronic tinkerer so I have used a second hand Wii balance board for 8 bucks and have taken out the four pressure sensors including the electronics. Using software called Wii balance walker by Shachar Lieberman you can connect the balance board to pc easily by bluetooth. The only thing that was needed was to resolder the connections of the pressure sensors to the printboard, which is a 3 minute job. I’ve mounted the pressure sensors on two table legs. Furthermore I made some 3d printed parts to assemble everything. I only need to install a teensy for the f22 stick and attach the stick more firmly, but the overall result is impressive- like others have experienced it is a different feeling of control but very natural and precise.
Recommended Posts