_Tigre_ Posted May 29, 2013 Posted May 29, 2013 Che dire , a mio parere e senza nulla togliere alla valenza delle tue ricerche il fatto che siano presenti delle tracce di questi scenari vuol dire tutto e niente , in soldoni possono essere solo dei test piuttosto che delle implementazioni diciamo civetta senza che poi ci sia un effettivo seguito. Anche perche' la Corsica , ad esempio , a prescindere dal fatto che e' uno scenario direi molto atipico , non c'entra nulla con il mondo DCS e in effetti non si capisce bene a cosa possa servire , cosi' come quello inventato mentre il turkmenistan potrebbe avere qualche attinenza in piu' con il mondo DCS e le sue macchine . Tra l' altro se ben ricordo Wags aveva parlato anche degli scenari , a parte il Nevada , che sarebbero venuti con riferiemento all' Afghanistan e al Vietnam , in ogni caso sono solo congetture, vedremo come si sviluppera' la questione perche' chiaramente dovra' essere affrontata quanto prima stante la oramai evidente inadeguatezza di quello attuale . :thumbup:
TCKnight Posted May 29, 2013 Posted May 29, 2013 Ritornando al discorso patch....vorrei sapere quando sistemeranno i missili in FC3...è scandaloso avere un F15 che usa la fionda al posto dei missili! The more you sweat in peacetime, the less you bleed in war. www.69squadrone.it [url="https://www.facebook.com/operationadriaticsea1[/url] S.O: Win7 64bit,MB: ASUS Formula IV ,CPU: AMD 965BE 3.4 @ 4.0 + Corsair Hidro H70 ,GPU: sli 2xGainward 570GTX "Golden Sample" HTC, HD: Raptor 10.000 rpm 500gb,RAM: DDR3 Corsair Extreme 1800Mhz 12gb ,Accessories:TrackIR4 6DOF, Hotas Cougar mod cubby, pro pedals, mfd pack + samsung led 8". Hotas Warthog serial 05629.
TkER Posted May 29, 2013 Posted May 29, 2013 Che dire , a mio parere e senza nulla togliere alla valenza delle tue ricerche il fatto che siano presenti delle tracce di questi scenari vuol dire tutto e niente , in soldoni possono essere solo dei test piuttosto che delle implementazioni diciamo civetta senza che poi ci sia un effettivo seguito. Anche perche' la Corsica , ad esempio , a prescindere dal fatto che e' uno scenario direi molto atipico , non c'entra nulla con il mondo DCS e in effetti non si capisce bene a cosa possa servire , cosi' come quello inventato mentre il turkmenistan potrebbe avere qualche attinenza in piu' con il mondo DCS e le sue macchine . Tra l' altro se ben ricordo Wags aveva parlato anche degli scenari , a parte il Nevada , che sarebbero venuti con riferiemento all' Afghanistan e al Vietnam , in ogni caso sono solo congetture, vedremo come si sviluppera' la questione perche' chiaramente dovra' essere affrontata quanto prima stante la oramai evidente inadeguatezza di quello attuale . :thumbup: Certo hai ragione, ma il fatto che ci sono e sono dentro alla release di DCSW vuol dire che sono comunque qualcosa di più che dei semplici test, poi vabbe dentro ci trovi di tutto, comprese delle battute tra i vari progammatori che si lasciano dentro il codice :lol:
scorpion80 Posted May 30, 2013 Posted May 30, 2013 Mult potrebbe essere l'abbreviazione di multiplayer.. andrebbe aperto e visto che forma ha. @Pelmo: le luci le controlli sul collettivo.. non girano a dx e sx, ma su e giù. Studia! [sIGPIC]https://forums.eagle.ru/signaturepics/sigpic62322_8.gif[/sIGPIC]
chromium Posted May 30, 2013 Posted May 30, 2013 Sugli scenari non starei a farmi illusioni, visto che in ogni caso penso siano ben al di là dal concetto di "prossimi". Probabilmente vedremo ben prima l'F-18c. Author of DSMC, mod to enable scenario persistency and save updated miz file Stable version & site: https://dsmcfordcs.wordpress.com/ Github for latest version: https://github.com/Chromium18/DSMC
TkER Posted May 30, 2013 Posted May 30, 2013 Sugli scenari non starei a farmi illusioni, visto che in ogni caso penso siano ben al di là dal concetto di "prossimi". Probabilmente vedremo ben prima l'F-18c. Spero almeno nel Nevada...
chromium Posted May 30, 2013 Posted May 30, 2013 Ma sai credo che sia tutto legato anche alla possibilità di monetizzare. Secondo la situazione ad oggi relativa a quanto letto su forum e/o comunicato da wags, se ho ben inteso e secondo il mio solo parere personale, ci sono i seguenti paletti: - Qualsiasi nuovo scenario (Nevada, altri ED, terze parti) sarà realizzato/programmato/fatto dopo il rilascio di EDGE. - Nevada porterà soldi solo per una parte della comunità, poichè tutti i pre-acquistatori dell'A10C prima della Beta-4 lo avranno gratis. - ED non sta preparando altri scenari, ma probabilmente delle terze parti li hanno "in canna". - F-15C, Su-27(SM?) porteranno soldi in cassa. - F18C porterà soldi in cassa. - EDGE non porterà soldi in cassa (a meno che DCS World non diventi a pagamento). - Eventuali moduli di terze parti portano soldi in cassa, ma in misura notevolmente minore (quanto? boh). - Il lavoro di continuo bugfix ed upgrade di DCS World non porta soldi in cassa. Mi viene quindi naturale pensare che, essendo che è impossibile fermare il lavoro di bugfix ed upgrade di DCS world in quanto nè dipende l'immediato futuro del sim, resti prioritario lo sviluppo di ciò che porta soldi in cassa piuttosto che di ciò che non lo fa. Se fossi uno sviluppatore che legge il forum e leggo scritto da alcuni utenti che: - i moduli F-15 e Su-27 non dovrebbero costare più di 10-15$ (dollari, eh); - Nevada me lo pagano 2/3 di chi l'avrà e comunque non dovrebbe costare più di 29$ - aumento di 10$ la beta di FC3 per metterci diversi contenuti in più e raccolgo solo incazzature - il lavoro di bugfix e sviluppo comunque non me lo paga nessuno - se produco un modulo che richiede 2 anni di lavoro deve comunque costare 49$ se no la gente si incavola (fa nulla che altri produttori es. PMDG rilasciano a 79$... ed il sim base è pure a pagamento e non sviluppato da loro... senza citare chiaramente il "grande mercato" dei FIFA/Battlefield che non fanno testo). Mi pare normale che la mia prima preoccupazione nei loro panni sia sopravvivere e coprire il costo di produzione del modulone con altro, la dove so che da solo non basterebbe. Tipo, non mi stupirei se l'upgrade dell' F-15C ed il Su-27 sia anche stato dettato da un' occasione di mercato: tipo che avevo scarichi i programmatori in grado di fare modelli di volo. Alla fine, anche se non conosco il campo, presumo che ci siano delle specializzazioni: non credo che chi sviluppa il modello di volo possa dal giorno dopo mettersi a programmare avionica... e viceversa. Ma forse sbaglio... :( Author of DSMC, mod to enable scenario persistency and save updated miz file Stable version & site: https://dsmcfordcs.wordpress.com/ Github for latest version: https://github.com/Chromium18/DSMC
VBS_Nero Posted May 30, 2013 Posted May 30, 2013 (edited) Condivido il tuo concetto Chromium fino ad un certo punto ,ovvio che ,le carte pian pianino le vedremo tutte..chissa come andra a finire... Non condivido il concetto PMDG a 79$ perche? Be se mi permetti non puoi paragonare una piattaforma MFS ,X-plane al DCS,sono 3 piattaforme strutturalmente diverse di visione e di fatti. Sappiamo tutti che la piattaforma DCS e' molto giovane a differenza delle piattaforme assestate nel mondo della simulazione da anni e anni. Su questo punto fai anche il prezzo del modello. Un modello su MFS o X-Plane avra' ha un valore "economico" diverso, per la versatilità della piattaforma. Anche la grande PMDG dopo anni e anni ha deciso di spostarsi su X-plane per le grandi qualita della pittaforma ultima nata.La VRS ha deciso di impostare un prezzo e un modello su MFS cio non vuol sminuire la piattaforma DCS ma la sua versatilità e guadagnando anche piu della ED. Forse il concetto ED e' quello di creare una piattaforma pari alle 2??be se cosi ce ne vorranno di anni e sinceramente parlando non so se riusciranno.. Edited May 30, 2013 by VBS_Nero [sIGPIC][/sIGPIC] DCS SQ° Italia Virtual Black Sheep VBS Fan Page Facebook You Tube Page
scorpion80 Posted May 30, 2013 Posted May 30, 2013 Ragazzi, ma veramente state cercando di fare i conti in tasca ad un'azienda senza sapere nulla dell'azienda stessa? Non conoscete la ripartizione dei costi. Non conoscete i contratti in essere. Non conoscete i margini. Non conoscete i numeri del personale. Ma di cosa stiamo parlando? Facciamo quello che ci viene meglio.. Voliamo, divertiamoci e facciamo gruppo. Il resto lasciamolo fare alla ED. [sIGPIC]https://forums.eagle.ru/signaturepics/sigpic62322_8.gif[/sIGPIC]
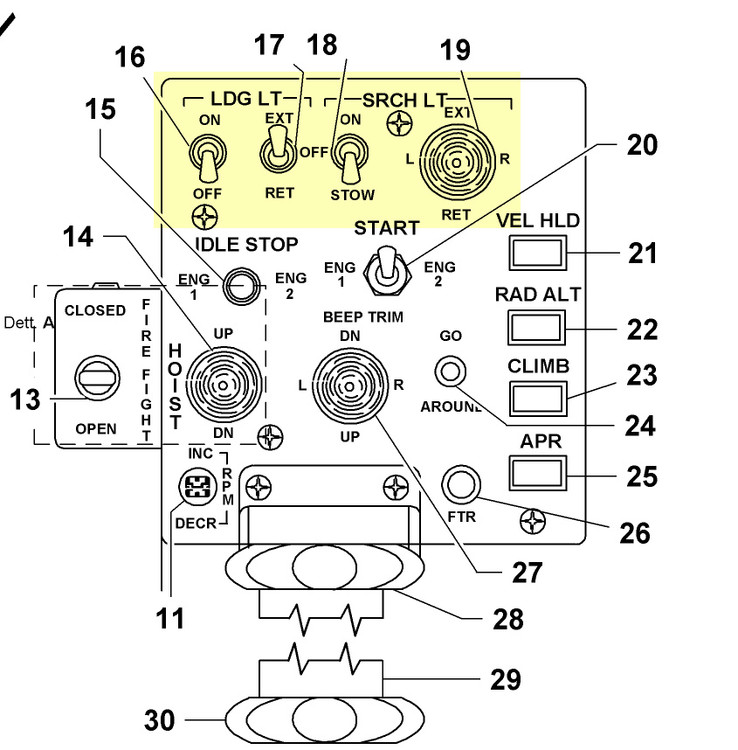
Pelmo Posted May 30, 2013 Posted May 30, 2013 @Pelmo: le luci le controlli sul collettivo.. non girano a dx e sx, ma su e giù. Studia! Allora Scorpion, osserva questi screenshots: Il primo è tratto dal manuale del gioco e descrive i comandi del collettivo. L'unico che non viene descritto è quello grande centrale nero. Ed è proprio quello che sposta la lampada Search Light a destra e a sinistra! Sempre tratto dal manuale, ecco la lista dei comandi presenti sul colletivo: Qui invece l'assegnazione dei comandi come da me impostata: Una volta in cockpit, avvicinando lo sguardo sul colletivo, guarda come il grande tasto nero centrale è spostato prima a destra e poi a sinistra..: Ora mi sono messo in visuale esterna ed ho cominciato a smanettare, fino a quando ho capito che la Search Light, non è quella anteriore, ma quella centrale, posta esattamente nel ventre dell'elicottero. Effettivamente, se impartisco il comando destra o sinistra, la lampada "ruota" su se stessa, spostando il fascio luminoso "leggermente" a destra o a sinistra. Credevo invece che la lampada fosse quella anteriore e che sinceramente è anche l'unica che è "sfruttabile" dal pilota, visto che quella centrale, ventrale, dal cockpit non è visibile e mi chiedo quale ne sia l'utilità.. Se non sfruttandola in visuale esterna, ma li non è più simulazione, ma arcade.. Quella anteriore è la Landing light, che può essere spostata in 2 posizioni ben distinte. In avanti o in basso. Ed è quella che anche tu pensavi fosse la search light. :smilewink: Bene, il mio dilemma è risolto, buona giornata a tutti!:) Intel i9-13900K, @5.8GHz, Gigabyte Z690 Aorus Master, 32GB DDR5 6200 DomPlatinum, GIGABYTE GeForce RTX 4090 Gaming OC 24G, LG 48GQ900-B, 4x 2TB Crucial P5plus M2 SSD NVME, 1x 500GB WD SN850 SSD NVME ,Thermaltake ToughPower GF3 1650W ATX 3.0 , Windows 11 Pro, Corsair AiO H170i LCD RGB, TrackIR 5, Thrustmaster Warthog, VPC Mongoos T-50CM3 Base, Thrustmaster MFD Cougar, MFG CROSSWIND, Corsair K95 Platinum, Sennheiser G 600, Roccat Kone Mouse.
scorpion80 Posted May 30, 2013 Posted May 30, 2013 Allora Scorpion, osserva questi screenshots: Il primo è tratto dal manuale del gioco e descrive i comandi del collettivo. L'unico che non viene descritto è quello grande centrale nero. Ed è proprio quello che sposta la lampada Search Light a destra e a sinistra! Sempre tratto dal manuale, ecco la lista dei comandi presenti sul colletivo: Qui invece l'assegnazione dei comandi come da me impostata: Una volta in cockpit, avvicinando lo sguardo sul colletivo, guarda come il grande tasto nero centrale è spostato prima a destra e poi a sinistra..: Ora mi sono messo in visuale esterna ed ho cominciato a smanettare, fino a quando ho capito che la Search Light, non è quella anteriore, ma quella centrale, posta esattamente nel ventre dell'elicottero. Effettivamente, se impartisco il comando destra o sinistra, la lampada "ruota" su se stessa, spostando il fascio luminoso "leggermente" a destra o a sinistra. Credevo invece che la lampada fosse quella anteriore e che sinceramente è anche l'unica che è "sfruttabile" dal pilota, visto che quella centrale, ventrale, dal cockpit non è visibile e mi chiedo quale ne sia l'utilità.. Se non sfruttandola in visuale esterna, ma li non è più simulazione, ma arcade.. Quella anteriore è la Landing light, che può essere spostata in 2 posizioni ben distinte. In avanti o in basso. Ed è quella che anche tu pensavi fosse la search light. :smilewink: Bene, il mio dilemma è risolto, buona giornata a tutti!:) Vedi che se ti applichi ci riesci? :* Bravo Pelmo!! :D [sIGPIC]https://forums.eagle.ru/signaturepics/sigpic62322_8.gif[/sIGPIC]
chromium Posted May 30, 2013 Posted May 30, 2013 Non intendevo mettere l'accento sulla differenza di prezzo (quanto mai l'ho fatto...). Intendevo solo sottolineare che PMDG sviluppa solo il prodotto oggetto di vendita, mentre ED sviluppa una parte venduta ed una parte gratuita... che per forza di cose dovrà essere coperta dalla parte venduta, rendendo appetibile ogni occasione di vendere qualcosa al fine di starci dietro con un margine che renda sostenibile il tutto. Il che spiega, sempre secondo il mio punto di vista, perchè per EDGE i tempi sono stati e saranno lunghi, perchè F15C e Su27 non saranno semplici "upgrade" di FC3 ma moduli a sè stanti*, perchè le funzionalità JTAC umano sono parte di un modulo esterno (CA) quando anch'esse erano nelle primissime features della release A10C (poi rimosse per motivi contrattuali), e chissà magari qualche altra novità commerciale. *probabilmente anche giustificato dalla volontà di "sganciarsi" dal brand LOMAC. Io continuo a ritenere che il prodotto che riceviamo, per il numero di ore che può essere utilizzato e per il continuo upgrade gratuito, costa ancora relativamente poco. Author of DSMC, mod to enable scenario persistency and save updated miz file Stable version & site: https://dsmcfordcs.wordpress.com/ Github for latest version: https://github.com/Chromium18/DSMC
Pelmo Posted May 30, 2013 Posted May 30, 2013 (edited) Vedi che se ti applichi ci riesci? :* Bravo Pelmo!! :D Tacci tua!;):):):) Edited May 30, 2013 by Pelmo Intel i9-13900K, @5.8GHz, Gigabyte Z690 Aorus Master, 32GB DDR5 6200 DomPlatinum, GIGABYTE GeForce RTX 4090 Gaming OC 24G, LG 48GQ900-B, 4x 2TB Crucial P5plus M2 SSD NVME, 1x 500GB WD SN850 SSD NVME ,Thermaltake ToughPower GF3 1650W ATX 3.0 , Windows 11 Pro, Corsair AiO H170i LCD RGB, TrackIR 5, Thrustmaster Warthog, VPC Mongoos T-50CM3 Base, Thrustmaster MFD Cougar, MFG CROSSWIND, Corsair K95 Platinum, Sennheiser G 600, Roccat Kone Mouse.
OttoPus Posted May 30, 2013 Posted May 30, 2013 - EDGE non porterà soldi in cassa (a meno che DCS World non diventi a pagamento). Wrong, in fatto di marketing videoludico un nuovo motore grafico attira più di un pelo di :music_whistling:
scorpion80 Posted May 30, 2013 Posted May 30, 2013 Non intendevo mettere l'accento sulla differenza di prezzo (quanto mai l'ho fatto...). Intendevo solo sottolineare che PMDG sviluppa solo il prodotto oggetto di vendita, mentre ED sviluppa una parte venduta ed una parte gratuita... che per forza di cose dovrà essere coperta dalla parte venduta, rendendo appetibile ogni occasione di vendere qualcosa al fine di starci dietro con un margine che renda sostenibile il tutto. Il che spiega, sempre secondo il mio punto di vista, perchè per EDGE i tempi sono stati e saranno lunghi, perchè F15C e Su27 non saranno semplici "upgrade" di FC3 ma moduli a sè stanti*, perchè le funzionalità JTAC umano sono parte di un modulo esterno (CA) quando anch'esse erano nelle primissime features della release A10C (poi rimosse per motivi contrattuali), e chissà magari qualche altra novità commerciale. *probabilmente anche giustificato dalla volontà di "sganciarsi" dal brand LOMAC. Io continuo a ritenere che il prodotto che riceviamo, per il numero di ore che può essere utilizzato e per il continuo upgrade gratuito, costa ancora relativamente poco. E scritto così ti appoggio al 1000*1000 :thumbup::smilewink: [sIGPIC]https://forums.eagle.ru/signaturepics/sigpic62322_8.gif[/sIGPIC]
giaco1 Posted May 30, 2013 Posted May 30, 2013 Guai a chi tocca i moduli DCS, la gente non si rende nemmeno conto che con 50 dollari ti porti a casa un simulatore dal realismo mostruoso! Io li ho comprati tutti (apparte FC3), ne vale troppo la pena! Soldi spesi bene!! [sIGPIC][/sIGPIC]
giaco1 Posted May 30, 2013 Posted May 30, 2013 Credevo invece che la lampada fosse quella anteriore e che sinceramente è anche l'unica che è "sfruttabile" dal pilota, visto che quella centrale, ventrale, dal cockpit non è visibile e mi chiedo quale ne sia l'utilità.. Se non sfruttandola in visuale esterna... Ho capito male ho affermi che il searh light non è utile??!! Perchè per me è utilissimo, come daltronde nella realtà! E' più utile del landing light, oltre ad essere più potente (ma questo nel gioco non si evince)!!! Ciao [sIGPIC][/sIGPIC]
_Tigre_ Posted May 30, 2013 Posted May 30, 2013 Premesso che tutti gli interventi sono interessanti e in gran parte condivisibili , per quanto mi riguarda lascerei fuori dalla discussione gli ambienti che non sono specificatamente dedicati al combattimento , in soldoni confrontare MSF e X-Plane , per quanto validi e dalle indubbie features come lo scenario mondiale ,ecc... , con il mondo DCS ha oggettivamente poco senso , sono troppo diversi e hanno un target di riferimento neanche lontanamente confrontabile . Piuttosto parlerei di Rise of Flight , ambiente di grande successo commerciale a cui si e' decisamente ispirata la ED nella sua politica di sviluppo del mondo DCS , cioe' un nucleo centrale gratuito comprendente l' engine grafico e tutto il necessario alla simulazione con un' aereo gratuito ( per RoF sono due ma non conta il numero quanto il principio ) ottenendo cosi' diversi vantaggi come ad esempio il poter provare l' ambiente al 100% delle sue funzionalita' senza l' obbligo di acquisto piuttosto che allargare considerevolmente il parco dei possibili utenti dal momento che da sempre la parola " gratuito " attrae come il miele per gli orsi , riservando il discorso guadagni ai moduli venduti separatamente , in sostanza ne' piu' ne' meno di quello che sta' accadendo appunto per RoF , tanto che anche se un po' tardivamente anche la ED ha incominciato a seguire una politica commerciale analoga con piu' comunicazione con l' utente finale al fine di creare maggiore hype attorno ai suoi prodotti oltre al discorso maggiore pubblicita' . Perche' questa politica commerciale applicata al mondo DCS abbia successo pero' ha assolutamente bisogno di una nuova vetrina , rappresentata appunto da un nuovo motore grafico con relativi scenari e da un nuovo net code all' altezza dei tempi , cioe' quel EDGE di cui si parla oramai da tempo , fondi per proseguire lo sviluppo di tutto questo nuovo ambiente che puo' reperire con la vendita dei moduli attuali e con l' introduzione di altri ad Hoc , come ad esempio quelli stand alone dell' F-15 e Su-27 , terze parti , ( l' F-18 data la complessita' della macchina a mio avviso uscira' dopo ) politica di marketing , ecc. , e di continuare lo sviluppo del motore grafico attuale con la correzione dei bugs e l' introduzione di qualche nuova features cosi' da mantenersi il patrimonio principale di ogni azienda , cioe' la clientela . C' e' anche da dire ,a mo avviso , che non hanno un tempo infinito per concretizzare questo nuovo corso e lo sanno benissimo , questo potrebbe peraltro anche giustificare in parte l' avvento delle terze parti , vedremo cosa faranno e con che tempi , se questo nuovo corso puo' rappresentare un punto di partenza per nuovi fasti puo' diventare anche quel punto di arrivo che decreta la fine dell' avventura . :thumbup:
Pelmo Posted May 30, 2013 Posted May 30, 2013 giaco1 hai capito male. Intendo dire che in questo simulatore, modulo, dall'interno del cockpit, non sono in grado di trarne benefici, visto che non è possibile vederne il fascio luminoso. Perlomeno "io" non ci riesco. Se poi tu ci riesci, se mi fai la gentilezza di spiegarmi come fare, te ne sarei molto grato ;-). Sono abituato sul Ka-50, visto che li, il faro anteriore è manovrabile sia in alto/basso che destra/sinistra ma sopratutto lo vedo. Intel i9-13900K, @5.8GHz, Gigabyte Z690 Aorus Master, 32GB DDR5 6200 DomPlatinum, GIGABYTE GeForce RTX 4090 Gaming OC 24G, LG 48GQ900-B, 4x 2TB Crucial P5plus M2 SSD NVME, 1x 500GB WD SN850 SSD NVME ,Thermaltake ToughPower GF3 1650W ATX 3.0 , Windows 11 Pro, Corsair AiO H170i LCD RGB, TrackIR 5, Thrustmaster Warthog, VPC Mongoos T-50CM3 Base, Thrustmaster MFD Cougar, MFG CROSSWIND, Corsair K95 Platinum, Sennheiser G 600, Roccat Kone Mouse.
giaco1 Posted May 30, 2013 Posted May 30, 2013 giaco1 hai capito male. Intendo dire che in questo simulatore, modulo, dall'interno del cockpit, non sono in grado di trarne benefici, visto che non è possibile vederne il fascio luminoso. Perlomeno "io" non ci riesco. Se poi tu ci riesci, se mi fai la gentilezza di spiegarmi come fare, te ne sarei molto grato ;-). Sono abituato sul Ka-50, visto che li, il faro anteriore è manovrabile sia in alto/basso che destra/sinistra ma sopratutto lo vedo. Si nel DCS funziona benissimo, come nella realtà, almeno nella penultima patch, nell'ultima sinceramente non l'ho provato, dammi 5 minuti e ti faccio sapere [sIGPIC][/sIGPIC]
Pelmo Posted May 30, 2013 Posted May 30, 2013 Ok, che funziona lo so. Non so so sono stato in grado di spiegarti bene il problema.. Io, dall'interno del cockpit, non riesco a scorgermi lateralmente (si, possiedo il trackir5) per poter vedere il fascio luminoso sotto l'elicottero, in hovering, per esempio sopra una piazola dell'eliporto.. Intel i9-13900K, @5.8GHz, Gigabyte Z690 Aorus Master, 32GB DDR5 6200 DomPlatinum, GIGABYTE GeForce RTX 4090 Gaming OC 24G, LG 48GQ900-B, 4x 2TB Crucial P5plus M2 SSD NVME, 1x 500GB WD SN850 SSD NVME ,Thermaltake ToughPower GF3 1650W ATX 3.0 , Windows 11 Pro, Corsair AiO H170i LCD RGB, TrackIR 5, Thrustmaster Warthog, VPC Mongoos T-50CM3 Base, Thrustmaster MFD Cougar, MFG CROSSWIND, Corsair K95 Platinum, Sennheiser G 600, Roccat Kone Mouse.
giaco1 Posted May 30, 2013 Posted May 30, 2013 Ok, che funziona lo so. Non so so sono stato in grado di spiegarti bene il problema.. Io, dall'interno del cockpit, non riesco a scorgermi lateralmente (si, possiedo il trackir5) per poter vedere il fascio luminoso sotto l'elicottero, in hovering, per esempio sopra una piazola dell'eliporto.. Non riesco a capire, io il search light lo posso spostare dove mi pare,e nel DCS lo uso come nella realtà, e vale a dire il landing light davanti (ovvio) e il search light a 45 gradi a dx per gli ostacoli ed i riferimenti per l'hovering. Ti metto anche 3 foto per spiegarti: [sIGPIC][/sIGPIC]
Pelmo Posted May 30, 2013 Posted May 30, 2013 Ok giaco1, ora hai la tutta la mia attenzione! Mi spieghi come diavolo riesci a spostare il fascio luminoso della search light così pronunciatamente in avanti?!!! Mi fai per favore uno screenshot per vedere come tu hai assegnato i tasti/comandi sulle tue periferiche? A me la search light illumina solamente la parte sottostante l'elicottero e quando premo il tasto per orientarla a destra o a sinistra, la lampada gira su se stessa, e non riesco a spostare il fascio luminoso in avanti come te! E poi mi puoi spiegare a cosa serve, quando l'interuttore del search light viene portato sulla posizione "Stow"? Intel i9-13900K, @5.8GHz, Gigabyte Z690 Aorus Master, 32GB DDR5 6200 DomPlatinum, GIGABYTE GeForce RTX 4090 Gaming OC 24G, LG 48GQ900-B, 4x 2TB Crucial P5plus M2 SSD NVME, 1x 500GB WD SN850 SSD NVME ,Thermaltake ToughPower GF3 1650W ATX 3.0 , Windows 11 Pro, Corsair AiO H170i LCD RGB, TrackIR 5, Thrustmaster Warthog, VPC Mongoos T-50CM3 Base, Thrustmaster MFD Cougar, MFG CROSSWIND, Corsair K95 Platinum, Sennheiser G 600, Roccat Kone Mouse.
giaco1 Posted May 30, 2013 Posted May 30, 2013 (edited) Ok giaco1, ora hai la tutta la mia attenzione! Mi spieghi come diavolo riesci a spostare il fascio luminoso della search light così pronunciatamente in avanti?!!! Mi fai per favore uno screenshot per vedere come tu hai assegnato i tasti/comandi sulle tue periferiche? A me la search light illumina solamente la parte sottostante l'elicottero e quando premo il tasto per orientarla a destra o a sinistra, la lampada gira su se stessa, e non riesco a spostare il fascio luminoso in avanti come te! E poi mi puoi spiegare a cosa serve, quando l'interuttore del search light viene portato sulla posizione "Stow"? Ciao, se guardi bene nei tasti da assegnare al searchlight ci sono 7 comani: ON OFF AVANTI INDIETRO DESTRA SINISTRA STOW il comando stow serve ad una cosa molto semplice; come nella realtà, se spippetti troppo col faro di ricerca o ti va dietro e perdi la SA di dovè finito il fascio, la funzione stow riporta il faro in posizione stivata, chiuso sotto la pancia. Anche sul 212 i comandi sono gli stessi, disposti in maniera differente ma gli stessi; praticamente ti manca il comando avanti e indietro del searchlight da assegnare. QUESTI SONO I COMANDI DEL DCS UH-1H "8" Search light Extend Ins Collective Stick "9" Search light Left Ins Collective Stick "; - RAlt" Search light Off Ins Collective Stick "; - RCtrl" Search light On Ins Collective Stick "7" Search light Retract Ins Collective Stick "0" Search light Right Ins Collective Stick "; - RWin" Search light Stow IO LI HO ASSEGNATI SU UN HAT SWITCH DEL JOYSTICK Ciao Edited May 30, 2013 by giaco1 [sIGPIC][/sIGPIC]
Recommended Posts